Contents
- About the Boler Frame
- Problems with the Boler Frame
- Removing the Body from the Frame
- Building a New Frame – New Design
About the Boler Frame
Consider the stresses exerted on your Boler frame as you travel down highways, hit bumps, swerve around pot holes and experience wind forces equal to a hurricane. Like the foundation of your home the frame and axle keep every part of your Boler body straight, square and stable. Many problems seen throughout a Boler can be traced back to a bent, twisted or broken frame.
The frame can be considered a problem area or weak point with the Boler, but let’s start with the original concept and design. With the fiberglass body mounted securely to the frame the combined integral strength is considerably higher than each component (body & frame) separate. The frame was built with overall weight a prime consideration, the initial frames built in 1968 & ‘69 used 1.5”x3” 0.083”/0.109” or 12/14 gauge “C” channel. From 1970 and onward a rectangular box section frame was used made from 1.5”x3”, 0.0625” or 16 gauge rectangular tube, this entire frame with axle and wheels weighed 300 lbs.
Problems with the design of the Boler frame contributes to the structural issues commonly seen on the 13’ Boler. The right hand frame rail (curb side) is cut or notched to accommodate the lower kitchen floor and the doorway, a small angle iron or 2”x2” square tube is welded under the doorway to carry the load, but because of the reduced size and strength this area is prone to flexing this greatly compromises the strength and load capacity of that member.
Compounding the above is the design of the tongue. Boler used a narrow 30 degree tongue angle (50 degree tongue angle is now the industry standard), this made the tongue length longer and resulted in the angled tongue members joining to the frame under the body on the right hand side right where that rail in notched for the doorway.
Problems With the Boler Frame
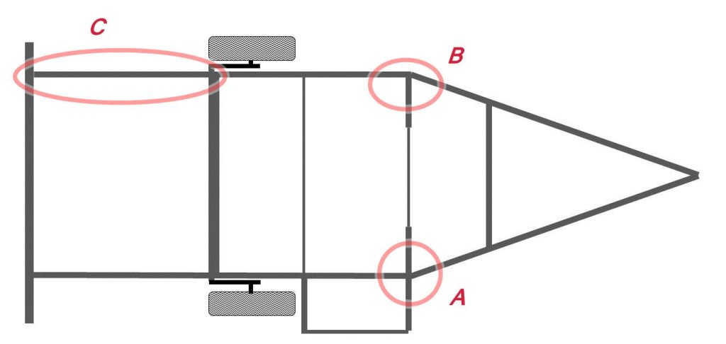
Now is the time to take a closer look, the frame on a Boler is strong enough as designed, the main problem occurs when the bolts and screws holding the body to the frame get loose or break. When the body and frame are held securely together they function as one unit and support each other, when the bolts get loose the body and frame flex and twist separately and this is what causes the damage. It is important the the frame rails are straight, parallel and flat, any bend or twist will cause problems. There are 3 main area that often show damage, bends or cracks.
In the above diagram point “A” experiences very high stress loads due to the fact the frame is notched at this location to accommodate the doorway and the lowered kitchen floor. Crawl under the trailer and look closely for any reinforcements, patches, crack or broken welds.
Point “B” is the most common area for the frame to actually break, again check this area for reinforcements, patches, crack or broken welds. while under the trailer at this time try to look to see if the two frame rails (right & left) are level with each other. You are looking to see if the entire frame is twisted. A twisted frame is common when a frame is repaired and a patch is just welded on without making sure the frame is straight first.
This shows an excellent repair on the drivers side frame rail, but unfortunately the entire frame was twisted when this was welded, it caused major problems with the body.
The final area, point “C”, causes the most problems with the body. When the bolts that attach the frame to the body loosen or break the body will actually start to rock and move in relation to the frame, this rocking action puts very high loads on the back section of the drivers side frame rail, the result is this frame rail will actually start to bend down from the axle mount to the back bumper. When this rail bends it causes the body to twist which will cause the problems seen at the door opening and the dimple above the drivers side wheel arch. From the back of the trailer look down the frame rail and make sure it is not bent down
The above pictures show a frame rail that is bending, the earlier picture shows what will eventually happen to this frame also. It is critical to regularly check the frame to body bolt and keep them tight, this only happens when those bolts fail.
Removing Body from Frame
Removing & Reinstalling Body on Frame Removing the Boler body from the frame is actually quite easy, but throughout this process remember you are working with heavy items that react very quickly and unexpectedly to gravity. They will fall and can cause a lot of damage and injury so proceed with caution and always consider your personal safety.
The Boler body is usually connected to the frame with 16 bolts and/or wood screws into the frame rails and cross-members
Standard locations for the fasteners are:
3 fasteners are under each side under the rear dinette seats (6 total)
1 fastener under the sink – if you have a furnace it has to be removed to access it
1 fastener is under the fridge, the fridge has to be removed to access it
2 fasteners are in the closet
3 fasteners are under each side in the front storage compartments (6 total)
1 additional screw is sometimes located in the middle of the kitchen floor area
You may be thinking at this point there is not a lot holding the body to the frame and you would be correct, a common problem I have seen on Boler’s are the mounting bolts pulling loose which will allow the body to “rock” on the frame. This rocking will usually cause the left frame rail (drivers side) to bend downward from the axle location to the rear bumper. If you look down the left frame rail from the back and notice an arch or downward bend that is the cause.
NOTE: any time you are lifting or supporting the body on the fiberglass floor always use 2″x6″x12″ long pieces on wood between the jack and/or stands and the floor of the Boler to distribute the load over a larger area. NEVER support the body by the edge of the body.
Equipment required:
- Automotive hydraulic jack
- 6 – jack stands
- 2 or 3 – 8′ long 2″x6″ cut into 12″ long pieces for blocking to support the body
- 2 – 9′ 4″x4″ (or larger) fence posts to support the body. (makes sure these timbers have straight grain with no large knots or cracks)
Tools to remove body bolts and screws
For this job it is best to use a high quality hydraulic automotive jack and jack stands. Start by lifting the trailer up at both ends and supporting the frame with jack stands; next remove all bolts and screws that are attaching the body to the frame. With all the bolts and screws removed you need to relocate the jack stands supporting the frame to the Boler body floor. Jack up one end of the frame slightly and position jack stands under the floor of the Boler, use 2″x6″x12″ long pieces on wood between the jack stand and the floor of the Boler to distribute the load over a larger area. With the stands in position slowly lower that end of the trailer, the frame should start to separate at that end, but only let the frame separate slightly at this point, continue to support the frame. Repeat this process at the other end of the trailer, lifting by the frame slightly, supporting the body under the floor using wood to distribute the load, and then lowering carefully. Now the moment of truth, the frame should separate from the body, it may take a little wiggling or gentle persuasion; if it does not separate easily make sure you didn’t miss a bolt or screws
With the frame now sitting on the ground and the body supported by jack stands the job is not finished, you will notice the locations of the jack stands prevent the frame from being removed from under the body. The next step is to slightly lift the body and support it on 4″x4″ timbers that are set on jack stands positioned outside the frame. To do this lift each end of the body slightly with the jack, leaving the first set of jack stands in place for safety, position the 4″x4″ timber across under the body. Use a stack of lumber between the top of the timber and the floor of the body. Make sure the edges of the body do not rest on the sides of the body that overhang the floor. Once the timber and blocking are in position and stable, the original jack stands can be removed and that end of the body can be slowly lowered onto the timber and blocking. Repeat this process for the other end, the frame can now be removed by sliding the frame out from the front.
Building a New Frame
After seeing all the problems with the original Boler frame I set out to build a better frame.
The design considerations included:
- Strength – The frame had to be strong, not bend or break
- Reduce the stress areas – eliminate the stress areas especially where the tongue connects to the notched frame by the entry door
- Light weight, trying to keep the new frame close to the weight of the original
The first consideration is the material used for the frame, although aluminum is lighter it requires much larger sectional dimensions to give the strength required, larger size material also increases the weight. The second concern with an aluminum frame is that it requires special skills and equipment to weld, the welding process can also weaken the material which can become susceptible to cracking and failure, The final concern with aluminum is the cost, although using aluminum would have resulted in a frame weighing about the same as the original the other concerns made it unacceptable for this project.
Steel being the best solution it was deciding on the best profiles to use. For the two main side rails I decided to use (2”x6”x0.125”) C channel, custom made from 1/8″ steel plate bent into a 2″x6″ profile by a fabrication shop. This profile is common in truck frames where strength, weight and ease of connecting components is critical. Although a 4” profile would have been ample I chose the 6” because the dropped floor in the kitchen area is a 6” drop and the design included installing a Flexi Ride axle in the recommended trailing arm configuration, this meant the axle tube needed to pass under the kitchen floor area. An additional advantage of using C channel is it allows the body to be securely bolted to the frame, no more long bolts that crush the tubing or metal screws that work loose over time, the body can be bolted through the top flange using 3/8”x 1 ½” bolts, large fender washers on the inside fiberglass of the body and lock washers with lock nuts under the frame.
Although the C channel is extremely strong it does require blocking or boxing at critical load bearing areas like where the axle bolts to the frame, the front tongue connection and at the cross members. For the boxing, the cross members and tongue I used (2”x3”x0.125”) rectangular tube, this same material, laid flat, is used under the door area when the passenger side frame rail is notched. Finally I used lighter (1”x1”x0.0625”) square tubing in the cut-out for the original porta-potty, if your Boler does not have the porta-potty storage you can just bridge this area with a straight cross-member
Finally the design, as mentioned earlier the original Boler frame used a very narrow 30 deg tongue coupler angle which places the tongue connection right at the frame notch at the doorway, by extending the frame rails forward and using a 50 degree coupler angle it allows for a greater bridging area to support the doorway notch and eliminates that stress area. The weight of the original frame including the axle and wheels (does not include brakes) is 300 lbs, The redesigned frame described here weighs 395 lbs including axle with brakes (weight of brakes is 22 lbs each) which means the new frame only weighs 50 lbs more than the original
I have many skills but making CAD drawings is not one of them, if you would like to build a similar frame I have included some simple drawings along with a pictures that should guide you in building a similar frame for your Boler.
NOTES:
- The 13′ Boler was made in a number of location and there could be minor variations. Please use this information as a guideline, double check the actual measurements on your frame.
- In the picture the diagonal cross brace is optional, I use it to mount a spare tire. Do not install this brace if you intend to install the fresh water tank under the rear or the trailer.
The following pictures document the build of the frame for my boler using the new design.

























































Mike Bromley
Ian: Comprehensive. The question I have is about different factories producing slightly-different fiberglas shell dimensions. If one were to follow this frame design, how certain could one be about one’s body shell actually fitting? Any comments? Also, the diagonal brace in the rear overhang seems like it will preclude using an underslung water tank. Won’t the triangulation provided by the tongue serve the same purpose? One could get fancy with the notching of the skirt up front, to hide and somewhat protect the exposed frame from the elements. Great job. I’m probably going to embark on a new frame this coming winter. 11 kilometers of Mig wire??? That sounds like a lot!
Ian
Thank you Mike, great comments
Although the frame should fit all versions, if you decide to build a frame you should always double check the measurements on your own frame to confirm the dimensions (I will add that information into the article, thank you). The diagonal brace is not structural, I installed it to mount my spare tire to (that is why it is not in the diagram). I do have a comment attached to the picture but I will again add a more obvious comment within the article.
Thank you for pointing these things out, I appreciate it as do those reading.
Marty
A hint: Our 1972 13′ doesn’t have any bolts holding the fibreglass body onto the frame. Only lots (and lots) of screws.
Ian
Your Boler would have had Bolts, at least 4 and probably 6 but there is a VERY good chance they have rusted and/or fallen out, this in not unusual.
I saw a nice repair yesterday where “U” bolts were used to straddle the frame from underneath and large washers used on the inside to distribute the clamping force some. Looked like a very nice way to secure the frame without having to drill holes through it which I would never recommend to do.
Marty
Our frame doesn’t have the tabs (or holes) for bolts. Frame looks original.
Ian
Marty,
On some frames the bolts pass through the frame rails. Often on these frames the bolts cause the frame tube to crush or “squish”. As the tube deforms the bolt will loosen and can fall out
Weslie
Hello Ian-
I am wondering how or whether the above measurements differ from the dimensions of an “original” Boler frame? I am trying to compare your plans to the broken frame under mine and am finding differences- such as your 44″ width as compared to my 48″. Do you think I will have to accommodate the original measurements for my own trailer or is your plan just that different from the original?
Thanks!
Ian
Hi Weslie
Most of the measurements are the same, the difference you identify is probably where the measurement was taken. On my plan the 44″ is from the inside face to inside face of the side rails, since the side rails are 2″ wide the outside to outside dimensions would be 48″. I used inside to inside dimensions because of the wider rails (2″ vs 1.5″), it was important that the body actually fit. The measurements on my diagram indicate the critical dimensions to fit the drop floor and extension in the kitchen area, axle location, door location, and tongue length.
Weslie
Right on. I figured that this was the case but better asking than building a wonky frame! Thank you.
Kerry nutter
Hi , I’m going to double check on one of your suggestions. I’m redoing a 76 ,13 ft boler. Frame is in great shape. I do have a few loose screws in the front. I like the comment using the u bolts. Can I install 2 u bolts under the frame through the fiberglass and using large washers or a plate inside to tighten everything back up without hurting the fiberglass body ? And if so I’ll do the same in the rear under the seats as well. Now would be the time to drill and reinforce everything. Thanks. In advance for all your input and help. Kerry.
Ian
Hello Kerry
Excellent questions. Yes the “U” bolts around the underside of the frame and secured on the inside using either large washers or in many cases you can get “U” bolts with a plates that comes with them, just anything to distribute the load over a larger area of the fiberglass. The ideal solution would be to use 6 “U” bolts, 3 on each side, one at the front, one just behind the dinette step and one at the rear of the body
Mike Bromley
I recently rebolted the old bolt tabs on the Dino Egg with 3/8″ bolts, and I placed a 4″ disk of 3/4′ plywood above the floor to spread the load further from large washers. So far so good.
Ian
Sounds perfect Mike.
June Dysinger
Hello Ian.
I am struggling to find someone who can build a new frame for my 1978 1300 Boler, utilizing your instructions. Do you have any recommendations? I live in New Hamshire.
Are the design dimensions accurate enough that a welder could be built elsewhere and ship it for local install?
Do you have any experience with Nomad Trailers? They will build one, but have dismissed my desire to use an axle with brakes on a 1300. They also have been unable to clarify with me how they would address the known weak spots in the original frame, outside of just using a heavier gauge steel. It makes me fearful of using them…
Thanks for your input.
June
Ian
Nomad Custom Trailers is an excellent shop and do excellent work. Also Metro Centre in Winnipeg make frames for 13′ boler. I list many sources for parts on my “Parts – Where to Find Boler Parts” page
Eric
Hello Ian,
Thank you very much for your inspection on my 72 13ft Boler.As per your suggestion, we are going to fix the frame and replace the axle. Will start to separate the body from the frame from today, hopefully everything will go smoothly.
Eric
After removing about 30 screws plus 30 rivets (some of them were covered under painting or later added fiberglass), 5 days of work accomplished separating the body from the frame. Yesterday, I sent the frame to Standens for new axle and some welding.
I need to replace the lower deck floor and am wondering if I should use the plain plywood or the processed one. Seeing one YouTube video applies fiberglass below and above the plywood, Is it better to fiberglass the surface before applying rubberized undercoating?
Another thing I’m thinking is to apply POR 15 to the frame. I applied some Rust Checker to all the visible part some weeks ago, Will the previously applied Rust Checker reduce the effectiveness of POR15.
Do you have answers/suggestions to the above two questions? Thanks!
Ian
Good work Eric, I would use marine grade plywood, this is a higher quality fir plywood using exterior grade adhesives, secondly after you cut the plywood to fit I would treat all the edges with a Penetrating Epoxy Sealer such as S1 from System Three, this will prevent any moisture from entering the edges of the plywood and causing delamination of the layers. Rather than fiberglassing the top and bottom surfaces of the plywood which will just cover the surface and can trap moisture inside the wood I would again use the S1 sealer and completely coat all surfaces with several coats, this will penetrate deeply into the wood giving you the best protection. As an option you could use an undercoating as a final layer on the outside.
I believe POR15 should be applied to bare metal so the previous coating should be removed. WARNING, wear gloves and protective clothes when working with POR15, it is a very thin product like water and will turn anything it touched black, this includes exposed skin and it will not wash off, your hands will be stained until it wears off.
Eric
Thank you very much – Ian, I’m going to return the normal floor plywood bought yesterday and continue to next step following your instructions.
Ian
The costs of these materials is small compared to the labour involved in this project. If you are like me you only want to do this job once and make it last forever. Using the method I described is the best other than using a honeycomb fiberglass floor which is very difficult for the DIY’er to do.
Eric
Thank you – Ian, Since I didn’t plan to do this so definitely don’t want to do a second one :), I’m looking for where to buy marine grade plywood and the S1. And also, I’m going to order POR-15 Metal Ready Prep Quart Por15 and POR15 from Amazon.
Ian
On the System Three website they list S1 retailers and well as online sales. Marine grade plywood should be available through local suppliers, I am not sure where you are located but examples include: Windsor Plywood, Home Depot (US), Google marine plywood with your location for more suppliers.
Bill
Eric, The reports on POR15 I’ve read from car enthusiasts restoring old Jeep are wonderful. Many of the “Jeepers” will incorporate the POR product line into their “frame off” restorations with great success. If/when we get to this point, I’m doing the POR treatment as you’ve noted here. Great product. Thanks for sharing it here. And special thanks to Ian for such a great job on a finely detailed write up with very good pictures.
Azur
Hi Ian,
We emailed a few days ago. After my query went out on Fiberglassrv.com I found that the Bolers manufactured in Peace River were attached with screws… lots of them! I will update as I remove my frame. Mine was manufactured there so I expect screws.
Azur
Ian
Thank you Azur Good information,, keep us updated on what you find
Mike Bromley the Kurd
Howdy….Mine’s a Peace River ’73, it has (Had) four chintzy 1/4″ bolts and a mess of sheet metal screws. The bolts were in the front about 12″ back from where the tongue went under the body, and about 24″ in from the back of the body on the frame rails. I have since replaced the bolts with 3/8″ bolts run through big washers on top of a 3″ biscuit of 3/4″ plywood and torqued down tight with the threads staked with a punch. I replaced a few of the loose sheet metal screws with new larger-diameter hexhead screws…Someday the frame will be replaced, but for now it is firmed up nicely.
Ian
Thank You Mike Great information.
Not surprising that the manufacturing varies by manufacturing plant, year and probably who actually worked on it.
Sid Haubrick
Good morning. Our Boler was sold to us as a 71. But buy what I read because of its c channel frame it may be earlier. The over all trailer is in very good condition. My thoughts right now is making frame and running gear safe and reliable. So new tires are on and new timkin bearings and good axle grease. Now the frame. It does have a little problem. The frame is straight as an arrow and floor is still in like new condition. But there has been a repair made on drivers side where frame turns in forming heading to hitch. Not a great repair so I have made up a piece of angle iron to put there and weld. Curb side has no sign of crack but going to put same on that side to. Some one has put a 1 inch square tubing inside the c channel at about where frame goes under trailer to stiffen this area on both sides. Then 1/4 inch bolts through instead of screws. That should keep the body tied together with frame. The rear frame still had all the screws and still tight. Frame is straight. So I took out 2 screws on each side. Then placed lengths of 11/4 tubing in the top part of the c. they fit in snug. Then 1/4 inch bolts with large washers on the inside floor through to bottom of the new square tubing. I think this should strengthen this area and keep a tight bond between body and frame. Because the frame seems to be in good condition other then the one spot. I don’t feel building a new frame is necessary. Any thoughts on this. Thank you Sid
Ian
Hi Sid
C channel frames are definitely early models, but if the frame is straight there is no need to replace it. Correctly repairing and strengthening the frame along with ensuring the body is securely bolted to the frame should be all that is needed. Using 1/4″ and up to 3/8″ bolts wish large washers is definitely the best way to secure the body to frame, screws were fast and easy for manufacturing but do not hold well. My only caution is when you strengthen a frame is certain areas you can transfer the stresses and flex to another area. Always inspect the frame regularly for crack or other potential problems in all areas of the frame.
Mark W
Hello Ian,
I appreciate you! Your work has motivated myself and many other boler owners to get into restoring their trailers. Thank you for all your hard work, dedication and posting much detail throughout your restoration. Your information is as entertaining to read / watch as it is is knowledgeable. I hope to high-five you at a FGRV meetup sometime 🙂
So, anyways. I ordered my new axle and am ready to rebuild the frame on my 77 boler. My friend is a welder and metal fabricator and I have an opportunity to learn some welding at his shop. I really like your design and would love to replicate something similar. Upon looking at your drawings of your custom frame (and photos) there are some questions that come to mind…
First off could you please tell me which measurements in your drawings are inside to inside, center to center, outside to outside etc?
Also, Why add the Boxed ‘C’ Channel on the front of the driver’s side of the frame and not on the passenger side?
Is the tongue made of 2″x3″ x 0.125″ box steel?
What is the measurement of the bar on the very rear of the frame and will that serve the purpose of a bumper? In your photos it appears to be within the outside rails.
and lastly, is your axle welded on or bolted on?
Thank you Ian for taking the time to answer my smorgasbord of questions about your frame.
Look forward to hearing your thoughts.
-Mark
Ian
Hello Mark, sorry for the delay in replying, we are enjoying the camping season and have limited access to wifi.
Measurement noted are to the points indicated by the arrows, as an example the width of frame is 44″ inside to inside, the tongue angled member is length along the longest side.
Boxing on “door” side is provided by the 2″x3″x0.125″ box channel that bridges the notched frame under the door.
Yes tongue is 2″x3″x0.125″ tube.
The rear cross brace is also 2″x3″ tube to tie the rear frame rails together. My bumper is one I modified from a 1959 Jaguar Mk2 http://www.proud-canadian.com/bumper-for-my-boler/
The axle is mounted by welding nuts to the inside of the frame rail before the boxing was added, then 1/2″ bolts are used to secure the axle to the frame.
Let us know how your build progresses
Ian
Brandee
Thanks for this Ian. I found you through the facebook page. I’m doing a frame off restoration. The trailer seems to be in good shape. Do you have any suggestions for “beefing” it up while the body is off?
Ian
With the body off the frame you can inspect the frame very closely. Check both frame rails for being straight, also draw strings from opposite corners which will check the frame for being twisted. You definitely want the frame level and square. If the frame is OK look at how the body is mounted to the frame, I prefer tabs around the outside of the frame, this way the body can be securely bolted through the tabs without drilling or crushing the frame rails.
Jen
Can you estimate how much $$$ you put into materials and how many man hours it took for the new trailer build? I have to hire someone to do mine and I’m trying to get a ball park figure so that I can try to get an idea of how much I need to set aside. Thanks!
Ian
Hi Jen, there are so many variables but I would guess about 12 hours of work (less for a well prepared shop) and about $1000 – $1200 for material including a new axle.
Eric Li
Hi Ian, I think you are over optimistic. Based on my experience, “Removing the Body from the Frame” itself may take more than 12 hours of work, depending on how many nails/rivets previously used and if you have the material ready to lift the body away from the frame. I paid no less than $2000 for a new axle (including break).
Ian
Hi Eric, good to know what prices some are paying, this provides a good reference for others.
As I mentioned Eric there are many variables, these include the ability and experience of the people working ion it. What I can tell you is that it took me 1.5 hours to remove the body from the frame and about the same to reinstall it, this is the first time I have ever done this and I did this by myself, but I also have the tools and space and experience working with truck utility bodies (not a lot of difference), I didn’t include the time to R&R the body in my estimate.
My Flex-Ride axle retail price through Standen’s Springs was $650 including brakes. It took Craig and I a weekend to build the frame (about 12 hours) is a well equipped but cramped garage. The metal cost me about $450 plus about $100+ in welding wire, gas, etc. That is the estimate I used.
Ian
I have to add to my comment above, that estimate is for building the FRAME only. The build of my entire trailer in total took over 3 years, hundreds of hours in labour and material costs alone are in the $10,000 range.
Tenneille
Re: Peace River made 1973 Boler. Same findings as Azur. I’m finding lots and lots of screws.
Ian
Not unusual, Many just used screws into the frame. I suggest you replace them and use 2″x5″ U-Bolts, install them so they straddle the frame. Use 4, one in each corner. These secure the body really well and will not damage the frame in any way. Here is an example https://www.homedepot.ca/en/home/p.5-16-inch-x2-inch-x5-inch–zinc-square-u-bolt.1000769541.html
David
Hi Ian.
Thanks for all the great Boler information.
We picked a 1971 -13′ Peace River model this year and took it out once and the frame cracked in spot B as you had indicated was a common area.
I knew it was rusted, but did not know it was as bad as it was. So all of the tips are going to be great to help me remove the trailer and weld up the frame. Thank you for providing the Home Depot link for the U bolts. I think this is a fantastic alternative to bolts through the frame.
I was thinking of more like 10 of them evenly distributed.
Our Boler does not have a kitchen or water tank or Porta Pottie and was customized to have a kitchen counter with shelves at the front where the bunk used to be, and a massive 2 door cupboard where the kitchen used to be. So I have lots of hidden areas for the U bolts.
Question #1
We would rather be camping than fixing our Boler so in your opinion is 10 U bolts too many?
Question #2
Do you know what the original size is supposed to be. My tires look really small that are on it.
From the pictures you posted after you put your Boler on your new frame, it looked like they were 165/ 80R 13
I saw another one in Winnipeg and they were 175.
So any thoughts here ?
Question #3
Upon final inspection of our Boler we have come to the conclusion that it is not the original door. I would like to try and find one or a mould or something so that the door will close better, as this one does not. Other than buying another Boler just for the door, which is just wrong, do you have any ideas?
Thanks Ian.
David & Pam
Ian
Congratulations, to answer your questions:
1) There is nothing wrong with adding more, you won’t hurt anything, ideally I would say 6-8 is plenty (3-4 per side)
2) Standard tire size is 175/80R13ST I would recommend that size with a My preferred tire is the Maxxis M8008ST
3) What is wrong with your door? can you send me a picture through the contact email?
Ian
David
Hi Ian.
I just wanted to check with you on this one statement. end You said…use 2″x6″x12″ long pieces on wood between the jack stand and the floor of the Boler floor
Did you mean for it to say use 2x6x8 long pieces ” OF WOOD?
Second,
I got the back frame off the Boler body by using a 25 Lb sledgehammer on the rear bumper when I had the floor supported. The sledgehammer worked like a charm because it dislodged the screws that’s were not
Planning on coming out that easily. However, the main floor between the dining area and the front of the trailer is coming off with the frame and is not separating. Any thoughts?
Thank you
David
Ian
Hi David, The 2″x6″x12″ long pieces on wood between the jack stand and the floor of the Boler floor” are pads to spread the load over a larger area, to support the body after the frame is separated I suggest using at least 4″x4″x8′ timbers under the body, again using a small stack of 2″x6″x12″ long pieces on wood between the 4×4 timber and the floor so you are not supporting the body by the edges.
Light tapping may be needed to separate the body from the frame but is sounds like you may have some screws or bolts still holding everything together. Try to remove all the screws & bolts, you say the a section of the frame has dropped, you should be able to locate the remaining fasteners, you could even try using a thin metal cutting blade on a reciprocating saw running the blade between the frame and the floor. Be careful not to damage the floor and to make sure the frame is supported so it does not fall on you.
Menno.
I just lifted the body off the frame, our boler is a “70/”71 we believe, as the former owner replaced the hitch so, no vin number. It took me about 1.5 hours as well the lift the body off the frame with lots of screws.
Many of the screws would just spin or the heads were loaded with paint. but a small grinder zipped them off pretty quick.
The next thing is find a welder and get a new axle ordered.
Great work Ian on this blog tons of info thanks for sharing.
Shane
A would like to know how many inches in was the frame for your hitch frame welded from the outside of your main trailer frame. On your diagram it looks welded right to the outside. In the finished product it looks like 2-3″ in
Ian
Sorry Shane, I am not understanding what you are asking, Can you provide more info?
Nick
Ian,
Nice work, very clean job. I’m interested in how your frame has held up over the last couple of years. I have a 2016 Scamp, the chassis looks quite similar to to the Boler design, and I want to do some work on the frame to modify the front, similar to your design so I can have a better designed bathroom. Your design creates a lot of space for a holding tank for the shower and will make a “nice” bathroom possible. My second concern is the chassis behind the axle. The tubing is 2″ x 3″, Scamp says it is 11ga, it looks fairly sturdy but because I am creating an offroad camper, within reason anyway, (body movement considerations seem huge right now) but I am putting the spare up front and 2 – 20 lb propane tanks out back and I wonder if you think additional bracing in back will be necessary? The bumper extension will be about 15″.
Ian
The frame is working very well, the only change I would make is to add gussets between the tongue and the front members, there is a slight amount of flexing there when the frame is supported at the very ends by the bumper and the coupler. I do not recommend adding any extension or weight to the area behind the trailer, the hitch weight on a boler is very light and adding weight behind the axle will reduce the hitch weight even more. The addition of a second propane cylinder on the tongue is less than 40 lbs total, probably not enough to offset weight any rear weight, especially dynamic loads while travelling.
Greg Wedgewood
Ian, what is the correct orienentation of the axle. When I bought my boler the previous owner had Standens install a Dexter axle(AF2000-EZ)? The torsion arms are pointing forward and slightly upwards. Does this seem correct.
Greg.
Ian
Hi Greg, The original boler axle is mounted with the suspension arms pointing forward, although this is somewhat unconventional it works fine and allowed the axle tube to be located behind the step between the kitchen and dining/bed area. The original axle had a 10 degree up position, meaning the suspension arms are positioned up 10 deg, this provides the best geometry and smoothest ride. So it sounds like everything is installed correct on your boler
Answers to Common boler Questions - Boler.ca
[…] boler FrameLike the foundation of your home the frame keeps every part of your Boler body straight, square and stable. Many problems seen throughout a Boler can be traced back to a bent, twisted or broken frame. It is critical that the frame and body of the boler are securely attached to each other which greatly increases the strength and rigidity of the trailer. The original fastener used to connect the body to the frame often fail, small metal screws and a few bolts were used, over time these loosen or break. If your frame has welded tabs these are the best for attachment, Tabs avoid putting any holes in the frame which can cause cracks and allow bolts to securely attach the body. If your frame does not have tabs, which is common on most frames, the best way to connect the body to the frame is either U-bolts straddling the frame Using a minimum of four u-bolts, one in each corner under the front and read dinette benches, and large fender washers on the inside. Do not drill into or through the frame as this causes a stress point where cracks will develop from. About the Boler Frame […]
Jim Prichard
Hi Ian, we have a 73 Boler. The floor was rotted out at all the edges so we removed it today. The shell is just sitting on the frame. We plan on lift the shell off and installing a new floor. Any suggestions on supporting the shell while we do this and would you recommend installing the entire floor before returning to the frame?
Thanks
Jim
Ian
Hi Jim
It is critical that the shell is flat and true when the floor is installed, and misalignment of the floor, when reinstalled on the frame will cause problems. Like the door and/or window opening not being square, dimples on the body, …Make sure the body is level & square, use the centre moulding flange (belly band) as reference to level.
David C.
At the top of this page there are 4 pictures of a white and yellow Boler trailer. I need two very small tires and rims to put on my Boler so I can store it in the garage when not in use. I will run the 13 inch when traveling but I need two very small ties when I get home.
Ian
The small tires are 4.80-8″ trailer wheels. The 8″ rims have a 5×4.5″ bolt pattern. These rims will bolt directly to the hubs and lower the trailer by about 4″ NOTE: these are for storage only and must never be used to transport the trailer on the road, the load rating is not enough for towing at road speed safely. If your axle has 7″ brakes you need to install these rims reversed (valve stem facing towards centre of trailer) to clear the brakes. These rims will not fit the 10″ brakes used on 3500lb axles
David C.
I do need these rims and tires for storage only. The four inch drop will work great, should fit in my garage. Thank you for your help, much appreciated.
Joe Schumacher
G’day Ian
I have a mate who is a metal fabricator and welder he is going to build a new frame for me
He has your diagrams though was asking is you have a
cut list of all the materials
is this something you are able to provide?
cheers
Ian
Sorry, I don’t have a cut list of materials